Qingdao Ruichen Sealing Technology Co., Ltd.
Qingdao Ruichen Sealing Technology Co., Ltd.
Produkt
X

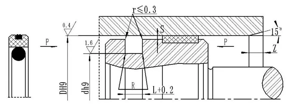
AQ-typ PTFE-sammansatt tätning

Om du är intresserad av att köpa Ruichen Seals AQ Type PTFE Compound Seal, erbjuder vi mycket flexibla materialanpassningsalternativ: elastomerer kan väljas från en mängd olika gummin, inklusive NBR och FKM. Förutom standard PTFE3 stöder tätningsringar också en mängd olika tekniska material, inklusive PTFE1/PTFE2/PTFE4.

AQ Type PTFE Compound Seal är brett anpassningsbar till olika media, temperaturer och arbetsförhållanden, vilket avsevärt förbättrar tätningssystemets kompatibilitet och livslängd.


Tillämpliga arbetsvillkor

Tryck Mpa

Temperatur ℃

Hastighet m/s

Medium

≤40

-35~+100 (NBR)

≤2

Hydraulolja, emulsion, vatten, gas, etc.

-20~+200 (FKM)


Materialval

1. Tillgängliga elastomermaterial: R01 nitrilgummi (NBR), RO2 fluorgummi (FKM), etc.

2. Tätningsring Material: Standardmaterial: PTFE3; andra tillgängliga material: PTFE1, PTFE2 och PTFE4.

Beställningsexempel AQ080080 x64,5x6,3(DxdxL)PTFE3-RO1 PTFE3 RO1-Materialkod



Hot Tags: AQ-typ PTFE-sammansatt tätning
Skicka förfrågan
Kontaktinformation
Få konkurrenskraftiga priser, teknisk support och snabba svar. Skicka dina specifikationer till Ruichen för skräddarsydda tätningslösningar. Gratis prover tillgängliga.
X
Vi använder cookies för att ge dig en bättre webbupplevelse, analysera webbplatstrafik och anpassa innehåll. Genom att använda denna sida godkänner du vår användning av cookies. Sekretesspolicy
Avvisa Acceptera