|
Tryck/MPa |
Temperatur / °C |
Hastighet /m/s |
Medium |
|
≤40 |
-35~+100 (med matchande NBR O-ringar) |
≤2 |
Hydraulolja, emulsion, vatten, gas, etc. |
-20~+200 (med matchande O-ringar FKM) |
1. Lämpliga O-ringmaterial inkluderar: R01 Nitril Butadien Rubber (NBR), R02 Fluorrubber (FKM), etc.
2. Tätningsringmaterial: Standardmaterial PTFE3 och PTFE4; andra valfria material inkluderar PTFE1, PTFE2 och PTFE5.
Ruichen har utfört oberoende forskning och utveckling och produktion från början av råvaror, förverkliga kontrollen över hela kedjan av produkter.
1. Tekniska plaster och kompositmaterial: Vi tar polytetrafluoreten (PTFE) som kärnan, från blandning, sintring till formning, oberoende produktion av alla typer av fyllda modifierade kompositmaterial rör och stav, och sedan precisionsbearbetning till tätningar. Detta säkerställer stabilitet och anpassningsbarhet av materialegenskaper.
2. Högpresterande polyuretan-elastomer: Vi utgår från prepolymergjutning, producerar självständigt högkvalitativa polyuretanrör och stavmaterial och bearbetar dem till olika typer av tätningar, som är enastående i slitstyrka, tryckbeständighet och hydrolysbeständighet.
Beställningsexempel
Beställningsmodell RC2054—80×69×4.2—PTFE3—R01 Modell-D*d*L- Materialkod Beställningsmodell RCX18—80×69x4.2—HPU Modell-D*d*L- Materialkod
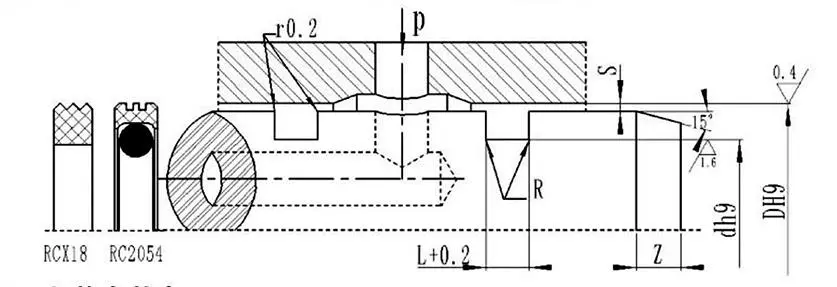
Tabell över specifikationer och parametrar (alla specifikationer inom parameterintervallet är tillgängliga)
|
Bländarintervall DH9 |
Dikes diameter dh9 |
Dikesbredd L+0,2 |
Radiellt spel Smax |
Rundade hörn Rmax |
Avfasning Zmin |
|
|
0~10Mpa |
10~20Mpa |
|||||
|
8~39 |
D-4,9 |
2.2 |
0.15 |
0.1 |
0.4 |
2 |
|
40~79 |
D-7,5 |
3.2 |
0.2 |
0.15 |
0.6 |
3 |
|
80~132 |
D-11,0 |
4.2 |
0.25 |
0.2 |
1.0 |
4 |
|
133~329 |
D-15,5 |
6.3 |
0.3 |
0.25 |
1.3 |
5 |
|
330~669 |
D-21,0 |
8.1 |
0.3 |
0.25 |
1.8 |
7 |
|
670~1500 |
D-28,0 |
9.5 |
0.45 |
0.3 |
2.0 |
8 |
|
D |
d |
L |
D |
d |
L |
D |
d |
L |
D |
d |
L |
|
8 |
3.1 |
2.2 |
50 |
42.5 |
3.2 |
170 |
154.5 |
6.3 |
380 |
359.0 |
8.1 |
|
10 |
5.1 |
2.2 |
55 |
47.5 |
3.2 |
180 |
164.5 |
6.3 |
390 |
369.0 |
8.1 |
|
12 |
7.1 |
2.2 |
60 |
52.5 |
3.2 |
190 |
174.5 |
6.3 |
400 |
379.0 |
8.1 |
|
14 |
9.1 |
2.2 |
63 |
55.5 |
3.2 |
200 |
184.5 |
6.3 |
420 |
399.0 |
8.1 |
|
15 |
10.1 |
2.2 |
65 |
57.5 |
3.2 |
210 |
194.5 |
6.3 |
450 |
429.0 |
8.1 |
|
16 |
11.1 |
2.2 |
70 |
62.5 |
3.2 |
220 |
204.5 |
6.3 |
480 |
459.0 |
8.1 |
|
18 |
13.1 |
2.2 |
75 |
67.5 |
3.2 |
230 |
214.5 |
6.3 |
500 |
479.0 |
8.1 |
|
20 |
15.1 |
2.2 |
80 |
69.0 |
4.2 |
240 |
224.5 |
6.3 |
520 |
499.0 |
8.1 |
|
22 |
17.1 |
2.2 |
85 |
74.0 |
4.2 |
250 |
234.5 |
6.3 |
550 |
529.0 |
8.1 |
|
24 |
19.1 |
2.2 |
90 |
79.0 |
4.2 |
260 |
244.5 |
6.3 |
600 |
579.0 |
8.1 |
|
25 |
20.1 |
2.2 |
95 |
84.0 |
4.2 |
270 |
254.5 |
6.3 |
630 |
609.0 |
8.1 |
|
28 |
23.1 |
2.2 |
100 |
89.0 |
4.2 |
280 |
264.5 |
6.3 |
650 |
629.0 |
8.1 |
|
30 |
25.1 |
2.2 |
105 |
94.0 |
4.2 |
290 |
274.5 |
6.3 |
670 |
642.0 |
9.5 |
|
32 |
27.1 |
2.2 |
110 |
99.0 |
4.2 |
300 |
284.5 |
6.3 |
700 |
672.0 |
9.5 |
|
35 |
30.1 |
2.2 |
115 |
104.0 |
4.2 |
310 |
294.5 |
6.3 |
750 |
722.0 |
9.5 |
|
36 |
31.1 |
2.2 |
120 |
109.0 |
4.2 |
320 |
304.5 |
6.3 |
800 |
772.0 |
9.5 |
|
38 |
33.1 |
2.2 |
125 |
114.0 |
4.2 |
330 |
309.0 |
8.1 |
1000 |
972.0 |
9.5 |
|
40 |
32.5 |
3.2 |
130 |
119.0 |
4.2 |
340 |
319.0 |
8.1 |
|
|
|
|
42 |
34.5 |
3.2 |
140 |
124.5 |
6.3 |
350 |
329.0 |
8.1 |
|
|
|
|
45 |
37.5 |
3.2 |
150 |
134.5 |
6.3 |
360 |
339.0 |
8.1 |
|
|
|
|
48 |
40.5 |
3.2 |
160 |
144.5 |
6.3 |
370 |
349.0 |
8.1 |
|
|
|
Obs: Obligatoriska specifikationer är inte listade här; vänligen kontakta vårt företag. Vi erbjuder produkter med en maximal diameter på 2800mm.



Adress
No.1 Ruichen Road, Dongliuting Industrial Park, Chengyang District, Qingdao City, Shandong-provinsen, Kina
Tel
E-post