|
Tryck/MPa |
Temperatur / °C |
Hastighet /m/s |
Medium |
|
≤40 |
-35~+100 (med NBR O-ring) |
≤2 |
Hydraulolja, emulsion, vatten, gas, etc. |
|
-20~+200 (med FKM O-ring) |
1. Tillgängliga O-ringsmaterial: R01 Nitril Butadien Rubber (NBR), R02 Fluorrubber (FKM), etc.
2. Tätningsringmaterial: Standardmaterial PTFE3 och PTFE4; andra valfria material inkluderar PTFE1, PTFE2 och PTFE5.
Beställningsexempel
Beställningsmodell RC2052—80x91×4.2—PTFE3—R01 Modell-dxDxL- Materialkod
Beställningsmodell RCX17—80x91×4.2—HPU Model-dxDxL- Materialkod
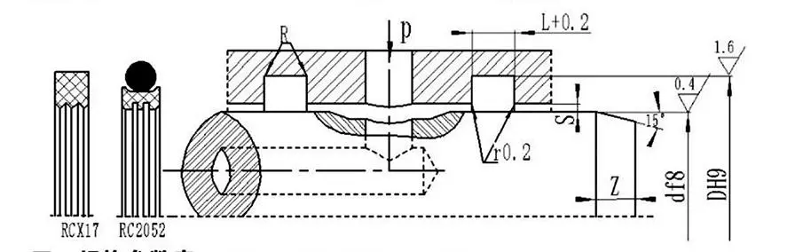
Tabell över specifikationer och parametrar (alla specifikationer inom parameterintervallet är tillgängliga)
|
Axeldiameterintervall d f8 |
Dikes diameter DH9 |
Dikesbredd L+⁰.2 |
Radiellt spel Smax |
Rundade hörn Rmax |
Avfasning Zmin |
|
|
0~10Mpa |
10~20Mpa |
|||||
|
6~18 |
d+49 |
2.2 |
0.15 |
0.1 |
0.4 |
2 |
|
19~37 |
d+7,5 |
3.2 |
0.2 |
0.15 |
0.6 |
3 |
|
38~199 |
d+11,0 |
4.2 |
0.25 |
0.2 |
1.0 |
4 |
|
200~255 |
d+15,5 |
6.3 |
0.3 |
0.25 |
1.3 |
5 |
|
256~649 |
d+21,0 |
8.1 |
0.3 |
0.25 |
1.8 |
7 |
|
650~1500 |
d+28,0 |
9.5 |
0.45 |
0.3 |
2.0 |
8 |
Obs: För axeldiametrar ≤ 30 mm rekommenderas öppna spår.
|
d |
D |
L |
d |
D |
L |
d |
D |
L |
d |
D |
L |
|
8 |
12.9 |
2.2 |
48 |
59.0 |
4.2 |
150 |
161.0 |
4.2 |
350 |
371.0 |
8.1 |
|
10 |
14.9 |
2.2 |
50 |
61.0 |
4.2 |
160 |
171.0 |
4.2 |
360 |
381.0 |
8.1 |
|
12 |
16.9 |
2.2 |
55 |
66.0 |
4.2 |
170 |
181.0 |
4.2 |
370 |
391.0 |
8.1 |
|
14 |
18.9 |
2.2 |
60 |
71.0 |
4.2 |
180 |
191.0 |
4.2 |
380 |
401.0 |
8.1 |
|
15 |
19.9 |
2.2 |
63 |
74.0 |
4.2 |
190 |
201.0 |
4.2 |
390 |
411.0 |
8.1 |
|
16 |
20.9 |
2.2 |
65 |
76.0 |
4.2 |
200 |
215.5 |
6.3 |
400 |
421.0 |
8.1 |
|
18 |
22.9 |
2.2 |
70 |
81.0 |
4.2 |
210 |
225.5 |
6.3 |
420 |
441.0 |
8.1 |
|
20 |
27.5 |
3.2 |
75 |
86.0 |
4.2 |
220 |
235.5 |
6.3 |
450 |
471.0 |
8.1 |
|
22 |
29.5 |
3.2 |
80 |
91.0 |
4.2 |
230 |
245.5 |
6.3 |
480 |
501.0 |
8.1 |
|
24 |
31.5 |
3.2 |
85 |
96.0 |
4.2 |
240 |
255.5 |
6.3 |
500 |
521.0 |
8.1 |
|
25 |
32.5 |
3.2 |
90 |
101.0 |
4.2 |
250 |
265.5 |
6.3 |
520 |
541.0 |
8.1 |
|
28 |
35.5 |
3.2 |
95 |
106.0 |
4.2 |
260 |
281.0 |
8.1 |
550 |
571.0 |
8.1 |
|
30 |
37.5 |
3.2 |
100 |
111.0 |
4.2 |
270 |
291.0 |
8.1 |
600 |
621.0 |
8.1 |
|
32 |
39.5 |
3.2 |
105 |
116.0 |
4.2 |
280 |
301.0 |
8.1 |
630 |
651.0 |
8.1 |
|
35 |
42.5 |
3.2 |
110 |
121.0 |
4.2 |
290 |
311.0 |
8.1 |
650 |
678.0 |
8.1 |
|
36 |
43.5 |
3.2 |
115 |
126.0 |
4.2 |
300 |
321.0 |
8.1 |
670 |
698.0 |
9.5 |
|
38 |
49.0 |
4.2 |
120 |
131.0 |
4.2 |
310 |
331.0 |
8.1 |
700 |
728.0 |
9.5 |
|
40 |
51.0 |
4.2 |
125 |
136.0 |
4.2 |
320 |
341.0 |
8.1 |
750 |
778.0 |
9.5 |
|
42 |
53.0 |
4.2 |
130 |
141.0 |
4.2 |
330 |
351.0 |
8.1 |
800 |
828.0 |
9.5 |
|
45 |
56.0 |
4.2 |
140 |
151.0 |
4.2 |
340 |
361.0 |
8.1 |
1000 |
1028.0 |
9.5 |
Obs: Obligatoriska specifikationer är inte listade här; vänligen kontakta vårt företag. Vi erbjuder produkter med en maximal diameter på 2800mm.





Allsidiga installations- och bruksanvisningar
Rui Chen vet att korrekt installation är den första förutsättningen för att säkerställa full prestanda för tätningar, vi kommer också att ge dig omfattande vägledning om användningen av varje produkt, särskilt komplexa eller icke-standardiserade anpassade delar, det kommer att finnas detaljerad grafisk installationsguide.
Dessa guider åtföljs av högupplösta steg-för-steg-diagram och textinstruktioner som tydligt visar inspektionspunkterna före installationen, de korrekta installationsstegen, de verktyg som krävs och fel operationer som måste undvikas, som om våra ingenjörer var på plats. Dessutom, för komplexa sammansättningar eller system, skapar vi professionella videohandledningar som låter dina operatörer intuitivt och snabbt bemästra installationstekniker och försiktighetsåtgärder genom dynamiska demonstrationer, vilket avsevärt minskar risken för tidigt fel på grund av felaktig installation.
Adress
No.1 Ruichen Road, Dongliuting Industrial Park, Chengyang District, Qingdao City, Shandong-provinsen, Kina
Tel
E-post