Den stjärnformade tätningsringen är en tätning med fyra läpp med en X-liknande form, så den kallas också en X-ring. Det är en förbättring och förbättring på grundval av O-ringen. Dess tvärsnittsdimensioner är desamma som för O-ringen i den amerikanska AS568A-standarden, och den kan i princip ersätta användningen av O-ringen.
Jämfört med O-ringen bildar den stjärnformade tätningsringen en smörjhålrum mellan tätande läppar, som har ett mindre friktionsmotstånd och ett litet startmotstånd. Eftersom dess flashkant är belägen i den konkava delen av tvärsnittet är tätningseffekten bättre. Det icke-cirkulära tvärsnittet undviker effektivt det rullande fenomenet under fram- och återgående rörelse.
Applikationsintervallet för den stjärnformade tätningsringen är mycket bred. Välj lämpligt material beroende på temperatur, tryck och medium. För att göra den stjärnformade tätningsringen anpassas till den givna applikationen, bör de ömsesidiga begränsningarna mellan alla arbetsparametrar övervägas. Vid bestämning av applikationsområdet måste topptemperaturen, kontinuerlig arbetstemperatur och driftscykel beaktas. Vid roterande tillfällen måste temperaturökningen orsakad av friktionsvärme också beaktas.
Denna X-formade tätningsring är ett självtätande tätningselement. Tätningskraften i det initiala tillståndet beror på kompressionsmängden och materialets hårdhet. När systemtrycket ökar kommer kompressionsdeformationen av tätningsringen att öka och den totala tätningskraften kommer att öka och bilda en pålitlig tätning.
Produktfunktioner och applikationer:
Urval av stjärnformad tätningsring
Statisk tätning eller återgående linjär rörelse
(1) Håltätning: Den inre diametern på den stjärnformade tätningsringen bör vara kompatibel med spåret, eller mindre än cirka 2% av spårets bottendiameter. Eftersom pre-kompressionskraften som genereras av pre-kompression kan effektivt förhindra att tätningsringen vrids och rullas.
(2) Axelätning: Den inre diametern på den stjärnformade tätningsringen bör vara lika med eller något större än axelens ytterdiameter, som kan styras inom 1%. Tätningsringen blir lättare att installera och ha en längre livslängd.
Rotationstätning
Den inre diametern på den stjärnformade ringen är cirka 2 ~ 5% större än diametern på axeln som den tätar. Eftersom tätningsringen genererar friktion och värme när den används i rotation, och elastomeren kommer att krympa efter uppvärmning (Joule uppvärmningseffekt). För att säkerställa smörjning och tillförlitlig drift av tätningsringen måste en stjärnformad ring med en större inre diameter än axeldiametern väljas. I allmänhet kan en tätningsring med ett mindre tvärsnitt tillgodose behoven hos statisk tätning, och omvänt bör en tätningsring med ett större tvärsnitt användas för att uppfylla kraven för dynamisk tätning. När det gäller högt tryck eller stort extruderingsklyftan måste ett gummimaterial med högre hårdhet väljas. Det bästa sättet är att lägga till en PTFE -stödring för att förhindra skador från extrudering av högt tryck.
Material
Materialet är i allmänhet Shaw A70 nitrilgummi NBR. Andra material kan hänvisa till materialen som används för O-ringar.
| Tabell 2-1 Prestationsparametrar | ||||
| Teknisk parameter | Dynamisk tätning | Statisk tätning | ||
| Fram- | Rotationsrörelse | |||
| Arbetstryck (MPA) | Med stödring | 30 | 15 | 40 |
| Utan att bibehålla ringen | 5 | - | 5 | |
| Hastighet (m/s) | 0.5 | 2.0 | - | |
| Temperatur (℃) | Allmänna tillfällen: -30 ℃ ~+110 ℃ | |||
| Specialmaterial: -60 ℃ ~+200 ℃ | ||||
| Rotationstillfällen: -30 ℃ ~+80 ℃ | ||||
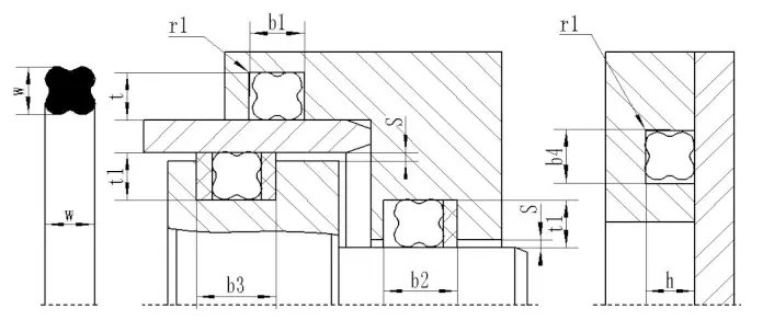
Stjärnring rekommenderas spårdesign
| Stjärnformad tätningsring-X-ring (American Standard AS568A) | |||||||||
| Kolvstavtätning (för axel) | Kolvförsegling (hål) | ||||||||
![]() |
![]() |
||||||||
| Produktmodell | Specifikationer och dimensioner | Stångtätningar | Kolvtätning | Slotbredd |
|
||||
| Innerdiameter DN | Tvärsnittsdiameter CS | D1 | D2 | D3 | D4 | L | W | ||
| As001 As002 As003 |
0.74 1.07 1.42 |
1.02 1.27 1.52 |
|
|
|
|
|
|
|
| As004 As005 As006 |
1.78 2.57 2.9 |
1.78 1.78 1.78 |
3 | 6.1 | 6 | 2.9 | 2 | 1.55 | |
| As007 As008 As009 |
3.68 4.47 5.28 |
1.78 1.78 1.78 |
3.5 4.5 5 |
6.6 7.6 8.1 |
7 8 9 |
3.9 4.9 5.9 |
2 2 2 |
1.55 1.55 1.55 |
|
| AS010 AS011 AS012 |
6.07 7.65 9.25 |
1.78 1.78 1.78 |
6 8 9 |
9.1 11.1 12.1 |
10 11 13 |
6.9 7.9 9.9 |
2 2 2 |
1.55 1.55 1.55 |
|
| AS013 AS014 AS015 |
10.82 12.42 14 |
1.78 1.78 1.78 |
11 13 14 |
14.1 16.1 17.1 |
15 17 18 |
11.9 13.9 14.9 |
2 2 2 |
1.55 1.55 1.55 |
|
| AS016 AS017 AS018 |
15.6 17.17 18.77 |
1.78 1.78 1.78 |
16 17 19 |
19.1 20.1 22.1 |
20 21 23 |
16.9 17.9 19.9 |
2 2 2 |
1.55 1.55 1.55 |
|
| AS019 AS020 AS021 |
20.35 21.95 23.52 |
1.78 1.78 1.78 |
21 22 24 |
24.1 25.1 27.1 |
25 26 28 |
21.9 22.9 24.9 |
2 2 2 |
1.55 1.55 1.55 |
|
| AS022 AS023 AS024 |
25.12 26.7 28.3 |
1.78 1.78 1.78 |
26 27 29 |
29.1 30.1 32.1 |
30 31 33 |
26.9 27.9 29.9 |
2 2 2 |
1.55 1.55 1.55 |
|

Adress
No.1 Ruichen Road, Dongliuting Industrial Park, Chengyang District, Qingdao City, Shandong-provinsen, Kina
Tel
E-post